目錄:杭州澳利拓儀表科技有限公司>>液位計>>電容式液位計>> ALT-201DL電容液位計2088
| 產地 | 國產 | 加工定制 | 是 |
|---|
一、ALT-201DL電容液位計2088 概述
電容式智能液位計是一種可以用于液體、油類、固體、界面 和測量的液 位(物位) 變送器。無可 動部件,可靠性大大提高, 它不受水蒸汽,灰塵 或冷凝的影響,具有長期運行穩定可靠,靈敏度高, 線性度好,耐高溫、 耐高壓等優點。 智能液位計為兩線制(回路供電)4~20mADC測量信號, 易千調校,無線傳輸,485 傳輸等。可廣泛用于石油、化工、冶金、電力、 造紙、制藥等各個領域。
二、電容式液位計 特點
·結構簡單,無任何可動或彈性元部件,因此可靠性高,維護量極少。一般情況下,不必進行常規的大、中、小維修。
·多種信號輸出,方便不同系統配置。
·適用千高溫高壓容器的物位測量,且測量值不受被測液體的溫度、比重及容器的形狀、壓力影響。
·特別適用于酸、堿等強腐蝕性液體的測量。
·完善的過流、過壓、電源極性保護。
·無線型液位計具有無線遠傳功能。
·可以測量任何導電介質
三、ALT-201DL電容液位計2088 技術參數
.檢測范圍: 0.1~30m;
·電容測量范圍:O.lPF~2500PF;
·精度:0.2% FS/0.5 %FS ;
.承壓范圍: -O.lMPa~32MPa;
.探極耐溫: -50~550'C
.環境溫度: -40~85'C
·儲存溫度: -50'C~+60'C;
·輸出信號:4~20mA485 通訊等;
.供電電壓: 7.5~30VDC;
.液位計材質: 316 不銹鋼、1Gr18Ni19Ti 或聚四氛乙烯
.長期穩定性:≤0.1%FS/年;
.溫度鏢移:≤0.01%FS/ 'C(在 0~70 'C范圍內)
.防爆等級:Ex ialICT6 Ga;
·防護等級:IP67;
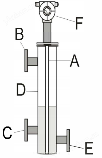
四、電容式液位測控儀 結構
電容式液位測控儀由于使用場合及參數的不同其結構會有所差異,但總體來看,其主要 結構大致可分為兩大部分,即傳感器部分與變送器部分。
如圖所示:
圖中 A所示為傳感器,直接探入容器設備或測量表筒的被測介質中。 電容式系列液位測控儀一般由傳感器、變送器以及其它輔助設各組成,其典型應用是利用連通器原理將待測設備中介質引入測量表筒,而傳感器位于測量表筒的中心位置,液體的流入或界面的變化引起傳感器內電極與測量表筒內壁之間的介電常數發生變化,從而引起 電容量的變化。此時,由傳感器將此電容量的變化采集并送之變送器,再由送器轉換成4-20mA信號輸出,則此時被測出的測量筒內的介質高度就是設備內介質的高度,從而實現對設備內介質的測量。
圖中B、C所示分別為液位瀏控儀的氣相和液相連接法蘭,用于設備法蘭對接,引出設備內的液體與壓力到測量筒。
圖中D 所示為液位測控儀測量表筒,可與傳感器電極之間形成電容。
圖中E所示為排污法蘭,可定期將液位測控儀內污物對外排放,保持液位測控儀測晝表筒內清潔千凈,避免傳感器粘附污物。
圖中F 所示為變送器,是電容最到標準電流信號的轉換裝置,是整個液位測控儀的中樞部分,其主要作用是接受傳感器送出的液位變換引起的電容變化增僵,然后經過轉換輸出 4-20mADC標準電流信號。本變送器采用集成器件, 功耗低、耐高溫、可靠性強、符合本質安全要求,整體特殊防 腐,外殼密封,可用 在防爆、防腐工礦環境。
注:變送器與測最表筒之間有段 密封部分,由數個密封件組成,能確保被測介質與傳感器接觸但不會向外滲漏,造成危害。此段是重要的密封部分,未經廠家同意請勿擅自拆動,以免引發事故。
